产品展示 > LED驱动 > 168体育登陆入口(SITI) > 大功率LED照明与装饰 > DD313
DD313
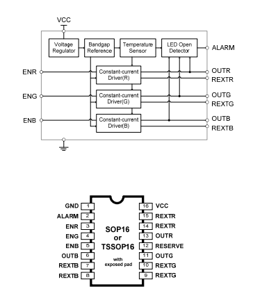
芯片概述
DD313 是专为大功率 LED 应用所设计的恒流驱动芯片。内建三个恒流输出通道,可透过三个 外挂电阻分别设定输出电流值。并特别设计三个使能端,可个别独立控制三个输出通道的开 关时间,切换频率最高达一兆赫(1MHZ)。电流输出反应极快,支持高色阶变化及高画面刷新 率的应用。芯片内建过热断电及过电流保护功能,使应用系统可靠性更为提升。
特 色
l 三个输出通道,可个别控制电流与色阶变化
l 最大输出电流:500mA(分别由三个外挂电阻设定)
l 最小输出电压要求: 1V (Iout = 500mA)
l 最大输出承受电压: 18V
l 快速输出电流反应
l 芯片工作电压: 5V ~ 18V
l 过电流保护
l LED 开路检测功能
l 过温警示 (当芯片接面温度超过 110°C)
l 过温断电 (当芯片接面温度超过 180°C) 应用




